Qingdao Ruichen Sealing Technology Co., Ltd.
Qingdao Ruichen Sealing Technology Co., Ltd.
Produktai
X

Valytuvo sandariklis GP6

Kaip pirmaujanti stūmoklio koto sandariklių gamintoja ir tiekėja Kinijoje, „Ruichen Seals“ GP6 dulkių žiedas sukurtas specialiai didelio skersmens stūmoklių kotams. Pagaminta iš nitrilo kaučiuko (NBR) (fluoro guma (FKM) yra neprivaloma esant aukštai temperatūrai), efektyviai blokuoja teršalų įsiskverbimą, pasižymi puikiu atsparumu dilimui ir prisitaikymui prie aplinkos, taip pat žymiai pagerina hidraulinės sistemos sandariklių patikimumą ir tarnavimo laiką.

GP6 valytuvai naudojami siekiant užkirsti kelią teršalų patekimui į hidraulines ir sandarinimo sistemas. Pagaminti iš NBR (nitrilo kaučiuko) arba FKM (fluorintos gumos), skirti naudoti aukštoje temperatūroje, jie pirmiausia naudojami didelio skersmens stūmoklių strypams sandarinti nuo dulkių.


Slėgis Mpa

Temperatūra °C

Greitis m/s

Vidutinis

-

-35~+100 (NBR)

1

Hidraulinė alyva, emulsija, vanduo ir kt.

-20~+200 (FKM)


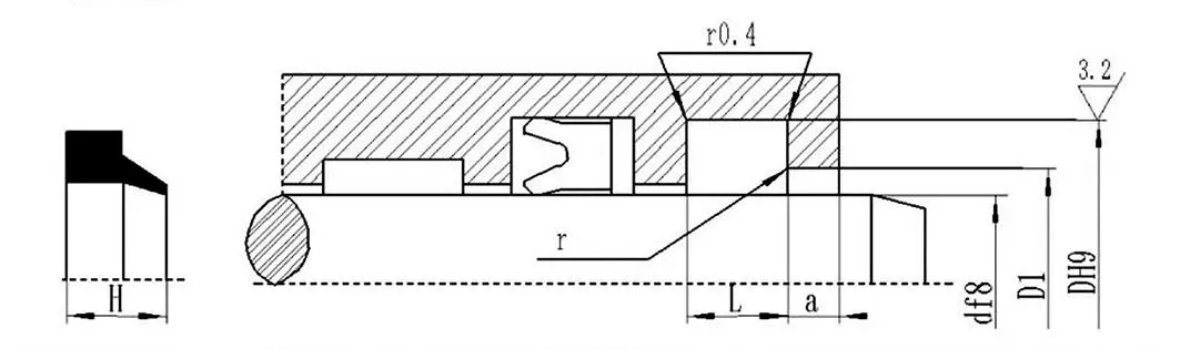
Žymėjimo būdas GP6-70*80.6*5.3/7 Model-d*D*L/H



Hot Tags: Valytuvo sandariklis GP6
Siųsti užklausą
Kontaktinė informacija
Gaukite konkurencingas kainas, techninę paramą ir greitus atsakymus. Siųskite savo specifikacijas „Ruichen“, kad gautumėte pritaikytus sandarinimo sprendimus. Galimi nemokami pavyzdžiai.
X
We use cookies to offer you a better browsing experience, analyze site traffic and personalize content. By using this site, you agree to our use of cookies. Privacy Policy
Reject Accept